
Характеристики
Обозначение (Таблица фигур): 30ч39р
Номинальное давление: 1,6 МПа
Максимальная температура рабочей среды: +120°C (EPDM): +150°C (Silicon rubber)
Материалы основных деталей: Высокопрочный чугун, нержавеющая сталь, EPDM
Рабочая среда: Вода
Тип присоединения: Фланцевое по ГОСТ 33259-2015
Управление: Ручное (маховик)
Класс герметичности: А по ГОСТ 9544-2015
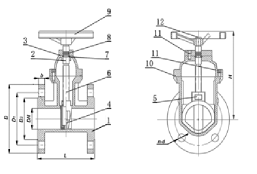
1. Корпус – GGG50
2. Крышка – GGG50
3. Фланец – GGG50
4. Клин – GGG50 (EPDM/Silicon rubber)
5. Ходовая гайка – латунь
6. Шпиндель – углеродистая сталь
7. Стопорные полукольца – латунь
8. Кольцевая прокладка – силикон
9. Штурвал – углеродистая сталь
10. Прокладка корпус-крышка – EPDM
11. Болт – углеродистая сталь
12. Болт – нержавеющая сталь

